ZX清水自吸泵产品概述:
ZX清水自吸泵是永嘉县泉达泵阀制造有限公司生产的卧式自吸离心泵。这种泵与别的类型的的自吸离心泵比较,因为泵本身没有止回阀,所以工作可靠,结构简单,工作时很少出现故障,具有维护方便体积小,重量轻,效率高等等优点,并且永嘉泉达技术人员在设计上做了特别的要求与同类泵相比排量更大,性能更强。
在工业跟农业生产,抢险求助的等等方面使用担当应急使用的泵性能优点更加突出。 ZX型自吸泵广泛适用石 油、化工、冶金、机械、化纤、食品、能源、交通等工业部门城市给水、亦可用于农业排灌、 喷灌。供输送清水或粘度小于5°E,温度低于80℃物理及化学性质类似清水的其它液体。
型号意义:

ZX清水自吸泵使用范围:
流 量:3.2~550m3/h
扬 程:12~80m
电机功率:0.75~132kw
口 径:25~300mm
吸 程:5~6.5m
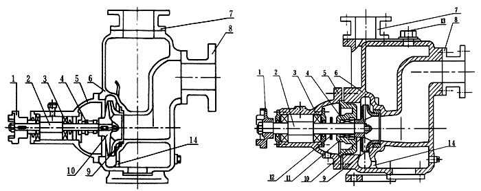
ZX清水自吸泵结构图:

|
1
|
联轴器
|
2
|
泵轴
|
3
|
轴承
|
4
|
机械密封
|
5
|
轴承体
|
6
|
泵壳
|
7
|
出口座
|
|
8
|
进口座
|
9
|
前密封环
|
10
|
叶轮
|
11
|
后盖
|
12
|
档水圈
|
13
|
加液孔
|
14
|
回液孔
|
ZX清水自吸泵工作原理:
该自吸泵均采用轴向回液的泵体结构。泵体由吸人室、储液室、涡卷室、回液孔、气液分离室等组成,泵正常起动后,叶轮将吸人室所存的液体及吸人管路中的空气一起吸人,并在叶轮内得以完全混合,在离心力的作用下,液体夹带着气体向涡卷室外缘流动,在叶轮的外缘上形成有一定厚度的白色泡沫带及高速旋转液环。气液混合体通过扩散管进人气液分离室。此时,由于流速突然降低,较轻的气体从混合气液中被分离出来,气体通过泵体吐出口继续上升排出。脱气后的液体回到储液室,并由回流孔再次进入叶轮,与叶轮内部从吸人管路中吸人的气体再次混合,在高速旋转叶轮作用下,又流向叶轮外缘……。随着这个过程周而复始地进行下去,吸人管路中的空气不断减少,直到吸尽气体,完成自吸过程,泵便投人正常作业。
在一些泵的轴承体底部还设有冷却室。当轴承发热引起轴承体温升超过70℃时,可在冷却室处通过任意一只冷却液管接头,注人冷却液循环冷却。泵内部防止液体由高压区向低压区泄漏的密封机构是前后密封环,前密封环装在泵体上,后密封环装在轴承体上,当泵经长期运转密封环磨损到一定程度,并影响到泵的效率和自吸性能时,应给予更换。
ZX清水自吸泵产品用途:
1、是适用于城市环保、建筑、消防、化工、制药、染料、印染、酿造、电力、电镀、造纸、工矿冲洗、设备冷却等。
2、是装上摇臂式喷头、又可将水冲到空中后.散成细小雨滴进行喷雾,是农场、苗圃、果园、茶园的良好机具。
3、是适用于清水、海水及带有酸、碱度的化工介质液体和带有一般糊状的浆料(介质粘度≤100厘珀、含固量可达30%以下)。
4、是可和任何型号、规格的压滤机配套使用,将浆料送给压滤机进行压滤的最理想配套泵种。
ZX清水自吸泵性能参数:
|
型号
|
流 量
|
扬程
(m)
|
吸程
(m)
|
转速
(r/min)
|
自吸性能(min/5m)
|
功率(KW)
|
泵口径(mm)
|
|
(m3/h)
|
(L/S)
|
轴功率
|
电机功率
|
吸入
|
排出
|
|
25ZX3.2-20
|
3.2
|
0.9
|
20
|
6.5
|
2900
|
1.9
|
0.46
|
0.75
|
25
|
25
|
|
25ZX3.2-32
|
3.2
|
0.9
|
32
|
6.5
|
2900
|
1.8
|
0.8
|
1.1
|
25
|
25
|
|
40ZX6.3-20
|
6.3
|
1.8
|
20
|
6.5
|
2900
|
1.9
|
0.87
|
1.1
|
40
|
32
|
|
40ZX10-40
|
10
|
2.8
|
40
|
6.5
|
2900
|
1.5
|
2.7
|
4
|
50
|
40
|
|
50ZX15-12
|
15
|
4.2
|
12
|
6.5
|
2900
|
2.4
|
1.1
|
1.5
|
50
|
50
|
|
50ZX18-20
|
18
|
5
|
20
|
6.5
|
2900
|
1.9
|
1.8
|
2.2
|
50
|
50
|
|
50ZX12.5-32
|
12.5
|
3.5
|
32
|
6.5
|
2900
|
1.5
|
2.1
|
3
|
50
|
50
|
|
50ZX20-30
|
20
|
5.6
|
30
|
6.5
|
2900
|
1.5
|
2.6
|
4
|
50
|
50
|
|
50ZX14-35
|
14
|
3.9
|
35
|
6.5
|
2900
|
1.5
|
2.7
|
4
|
50
|
50
|
|
50ZX10-40
|
10
|
2.8
|
40
|
6.5
|
2900
|
1.5
|
2.7
|
4
|
50
|
50
|
|
50ZX12.5-50
|
12.5
|
3.5
|
50
|
6.5
|
2900
|
1.4
|
4.3
|
5.5
|
50
|
50
|
|
50ZX15-60
|
15
|
4.2
|
60
|
6.5
|
2900
|
1.3
|
6.2
|
7.5
|
50
|
50
|
|
50ZX20-75
|
20
|
5.6
|
75
|
6.5
|
2900
|
1.3
|
9.8
|
11
|
50
|
50
|
|
65ZX30-15
|
30
|
8.3
|
15
|
6.5
|
2900
|
2
|
1.9
|
3
|
65
|
65
|
|
65ZX25-32
|
25
|
6.9
|
39
|
6
|
2900
|
1.5
|
4.4
|
5.5
|
65
|
65
|
|
80ZX35-13
|
35
|
9.7
|
13
|
6
|
2900
|
3.4
|
1.9
|
3
|
80
|
80
|
|
80ZX43-17
|
43
|
12
|
17
|
6
|
2900
|
1.8
|
3.1
|
4
|
80
|
80
|
|
80ZX40-22
|
40
|
11.1
|
22
|
6
|
2900
|
1.9
|
4.4
|
5.5
|
80
|
80
|
|
80ZX50-25
|
50
|
13.9
|
25
|
6
|
2900
|
1.5
|
5.2
|
7.5
|
80
|
80
|
|
80ZX50-32
|
50
|
13.9
|
32
|
6
|
2900
|
1.5
|
6.8
|
7.5
|
80
|
80
|
|
80ZX60-55
|
60
|
16.17
|
55
|
6
|
2900
|
1.5
|
15
|
18.5
|
80
|
80
|
|
80ZX60-70
|
60
|
16.7
|
70
|
6
|
2900
|
1.2
|
20.1
|
22
|
80
|
80
|
|
100ZX100-20
|
100
|
27.8
|
20
|
6
|
2900
|
1.8
|
7.8
|
11
|
100
|
100
|
|
100ZX100-40
|
100
|
27.8
|
40
|
6
|
2900
|
1.8
|
16.3
|
22
|
100
|
100
|
|
100ZX100-65
|
100
|
27.8
|
65
|
6
|
2900
|
1.8
|
27.7
|
30
|
100
|
100
|
|
100ZX70-75
|
70
|
19.4
|
75
|
6
|
2900
|
1.8
|
24.2
|
30
|
100
|
100
|
|
150ZX170-55
|
170
|
47.2
|
55
|
5
|
2900
|
1.8
|
39.2
|
45
|
150
|
150
|
|
150ZX170-65
|
170
|
47.2
|
65
|
5
|
2900
|
1.3
|
46.3
|
55
|
150
|
150
|
|
150ZX160-80
|
160
|
44.4
|
80
|
5
|
2900
|
1.2
|
53.6
|
55
|
150
|
150
|
|
200ZX400-32
|
400
|
111.1
|
32
|
5
|
1450
|
2
|
52.1
|
55
|
200
|
200
|
|
200ZX280-63
|
280
|
77.8
|
63
|
5
|
1450
|
1.5
|
73.9
|
90
|
200
|
200
|
|
200ZX350-65
|
350
|
97.2
|
65
|
5
|
1450
|
1.5
|
97.2
|
110
|
200
|
200
|
|
250ZX550-32
|
550
|
152.8
|
32
|
5
|
1450
|
2
|
72.3
|
175
|
250
|
250
|
|
250ZX400-50
|
400
|
111.1
|
50
|
5
|
1450
|
2
|
8 0
|
90
|
250
|
250
|
|
250ZX450-55
|
450
|
125
|
55
|
5
|
1450
|
2
|
102.1
|
110
|
250
|
250
|
|
250ZX400-75
|
400
|
111.1
|
75
|
5
|
1450
|
1.5
|
125.6
|
132
|
250
|
250
|
|
300ZX600-32
|
600
|
166.7
|
32
|
5
|
1450
|
2
|
79.2
|
90
|
300
|
300
|
|
300ZX500-50
|
500
|
138.9
|
50
|
5
|
1450
|
2
|
104.6
|
110
|
300
|
300
|
|
300ZX550-55
|
550
|
152.8
|
55
|
5
|
1450
|
2
|
117.6
|
132
|
300
|
300
|
ZX清水自吸泵使用:
(一)、起动前的准备及检查工作:
1.本系列自吸泵,根据泵的工作运转状况,分别采用优质钙基黄油和10号机油进行润滑,如果采用黄油润滑的泵应定期向轴承箱内加注黄油,采用机油润滑的泵,如果油位不足,则加足之。
2.检查泵壳内的储液是否高于叶轮的上边缘,如若不足,可以从泵壳上的加液口处直接向泵体内注入储液,不应在储液不足的情况下启动运转,否则泵不能正常工作,且易损坏机械密封。
3.检查泵的转动部件是否有卡住磕碰现象。
4.检查泵体底脚及各联结处螺母有无松动现象。
5.检查泵轴与电动机主轴的同轴度和平行度。
6.检查进口管路是否漏气,如有漏气,必须设法排除。
7.打开吸入管路的阀门,稍开(不要全开)出口控制阀。
(二)、起动及操作:
1.点动自吸泵,注意泵轴的转向是否正确。
2.注意转动时有无不正常的声响和振动。
3.注意压力表及真空表读数,起动后当压力表及真空表的读数经过一段时间的波动而指示稳定后,说明泵内已经上液,进入正常输液作业。
4.在泵进入正常输液作业前即自吸过程中,应特别注意泵内水温升高情况,如果这个过程过长,泵内水温过高,则停泵检查其原因。
5.如果泵内液体温度过高而引起自吸困难,那么可以暂时?;猛鲁龉苈分械囊禾宓沽骰乇媚诨蛳虮锰迳系募哟⒁嚎诖χ苯酉虮媚诓钩湟禾?,使泵内液体降温,然后起动即可。
6.泵在工作过程中如发生强烈振动和噪声,有可能是泵发生汽蚀所致,汽蚀产生的原因有两种:一是进口管流速过大,二是吸程过高,流速过大时可调节出口控制阀,升高压力表读数,在进口管路有堵塞时则应及时排除;吸程太高时可适当降低泵的安装高度。
7.泵在工作过程中因故停泵,需再起动时,出口控制阀应稍开(不要全闭),这样既有利于自吸过程中气体从吐出口排出,又能保证泵在较轻的负荷下启动。
8.注意检查管路系统有无渗漏现象。
(三)、停泵:
1.首先必须关闭吐出管路上的闸阀。
2.使泵停止转动。
3.在寒冷季节,应将泵体内的储液和轴承体冷却室内的水放空,以防冻裂机件。
ZX清水自吸泵维护与拆装:
该自吸泵的特点是结构简单可靠,经久耐用。在泵正常情况下,一般不需要经常拆开保养。当发现故障后随时给予排除即可。
1.维护该泵时应注意几个主要部位。
A.滚动轴承:当泵长期运行后,轴承磨损到一定程度时,须进行更换。
B.前密封环、后密封环:当密封环磨损到一定程度时,须进行更换。
C.机械密封:机械密封在不漏液的情况下,一般不应拆开检查。若轴承体下端泄漏口处产生严重泄漏时,则应对机械密封进行拆检。装拆机械密封时,必须轻取轻放,注意配合面的清洁,保护好静环和动环的镜面,严禁敲击碰撞。因机械密封而产生泄漏的原因主要是摩擦付镜面拉毛所至。其修复办法,可对磨擦付端面进行研磨使恢复镜面?;得芊獠孤┑牧硪辉蚴?ldquo;O”形橡胶密封圈(或缓冲垫)安装不当、或者变形老化所至。此时则需调整或更换“O”形密封固进行重新装配。
2.泵拆装顺序:
A.拆下电动机或脱出联轴器。
B.拆出轴承体总成,检查叶轮和前口环的径向间隙,检查叶轮螺母有无松动。
C.拆下叶轮螺母,拉出叶轮,检查叶轮和后密封环的径向间隙。
D.松出机械密封的紧定螺钉,拉出机械密封的动环部分,检查动、静环端面的贴合情况,检查“O”形密封圈(或缓冲垫)的密封情况。
E.旋出联轴器的紧定螺母,拉出联轴器。
F.拆下轴承端盖,拆出泵轴和轴承。
G.安装时以相反顺序进行装配即可。
ZX清水自吸泵订货请尽量提供:
1.型号2.口径3.扬程(m)4.流量5.电机功率(KW)6.转速(R/min)7.材质不否带附件8.电压(V)

● 感谢您访问我们永嘉泉达的网站【m.94651.cn】如有任何疑问.您可以致电给我们,电话:0577-66999097、66999098,我们一定会尽心尽力为您提供优质的服务。
离心式自吸泵生产厂家,ZX型离心式自吸泵,ZX型离心泵
相关产品:
自吸式油泵CYZ-A型 W旋涡泵 (ZS)型系列玻璃钢自吸泵 FZB氟塑料自吸泵 JMZ移动酒泵 ZWP不锈钢自吸泵
WFZB无密封自控自吸泵 CYZ-A型自吸式油泵 磁力驱动自吸泵 ZX型自吸式清水泵 ZBF型塑料磁力自吸泵
ZCQ型不锈钢磁力自吸泵 ZW无堵塞自吸泵 ZW型自吸泵机械密封