G型单螺杆泵介绍:
G型单螺杆泵的单螺杆泵在发达的国家已广泛使用,由于其优良的性能,近年来在国内的应用范围也在迅速扩大。它的最大特点是对介质的适应性强、流量平稳、压力脉动小、自吸能力高,这是其它任何泵种所不能替代的。对自已的产进行不断的改革创新。目前我单位的产品已自成一体系,压力为0.4∽1.2MPa,可满足广大用户对单螺杆泵的不同需求。我单位生产的G型单螺杆泵,质量可靠,实行三包,价格也相对较低,同时确保备件的正常供应。本单位热忱为广大用户服务,接受用户对特殊要求单螺杆泵的设计和制造任务。
G型单螺杆泵型号意义:

使用范围:
G型单螺杆泵由于该二部件的特殊几何形状,分别形成单独的密封容腔,介质由轴向均匀推行流动,内部流速低,容积保持不变,压力稳定,因而不会产生涡流和搅动。每级泵的输出压力为0.6MPa,扬程60m(清水),自吸高度一般在6m以上。
因定子选用多种弹性材料制成,所以这种泵对高粘度流体的输送和含有硬质悬浮颗粒介质或含有纤维介质的输送,有一般泵种所不能胜任的特性。其流量与转速成正比。
单螺杆泵结构紧凑,体积小,维修简便。对介质的适应性强,流量平稳,压力脉动小,自吸能力高。工作温度可达120℃,如果需输送120℃-350℃高温介质,可定做。广泛用于食品、冶金、造纸、印染、化工、化肥、制药等工业部门。
应用范围:
螺杆泵作为一种能用泵,流量可以根据要求,通过改变速度进行调节,运行速度可高可低,出口压力可随泵的级数增加而增加,每增加一级,压力增加0.6MPa,在以下范围和行业广泛应用。
1:环境保护:工业污水、生活污水、含有固体颗粒及短纤维的污泥浊水的输送,特别适用于油水分离器、板框压滤机等设备;
2:船舶工业:轮底清洁、油水、油渣、油污水等介质的输送;
3:石油工业:输送源油、原油与水的混合物、煤田气和水的混合物、往地层内灌注聚合物等等,从而降低了机械采油、采煤田气的成本,增加了油口采收率;
4:医药、日化、各种粘稠浆、乳化液、各种软膏化状品的输送;
5:食品罐头工业:各种粘稠淀粉、食油、蜂蜜、糖浆、果浆、奶油、鱼靡肉糜以及其下脚料的输送;
6:酿造工业:各种发酵粘稠浆液、浓酒漕、粮食制品渣、各种酱类、浆类和含有块状固态物的粘液等;
7:建筑工业:水泥砂浆、石灰浆、涂料及其它糊状体的喷涂与输送;
8:采矿工业:矿井内的含有固体颗粒的地下水和污浆水排送到地面;
9:化学工业:各种悬浮液、油脂、各种胶体浆、各种粘合剂;
10:印刷、造纸工业、高粘度油墨、高分子塑料和各种浓度的纸浆、短纤维浆的输送。
11:工业锅炉、电厂:水煤浆的输送。

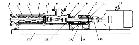
1 出料腔 2 拉杆 3 螺杆胶套 4 螺杆轴 5 万向节总成 6 吸入口体
7 连节轴 8 填料器 9 填料压盖 10 轴承座 11 轴承盖 12 电机
13 连轴器 14 轴套 15 轴承 16 传动主轴 17 底座

产品特点
单螺杆泵是按迥转啮合容积式原理工作的新型泵种,传动可采用联轴器直接传动,或采用低速电机三角带传到,变速箱,无级变速器等装置变速。流量0.8-150m3/h,压力0.4-1.2MPa。
产品用途
环境?;?lsquo;工业污水、生活污水、含有固体颗粒及短纤维的污泥浊水的输送,特别使用于油水分离器
板框压滤机设备等。
船舶工业:轮底清洗、油水、油渣、油污水等戒指输送。
石油工业:输送原油、原油与水的混合物、煤田气和水的混合物、往地层内灌注聚合物等。
医药、日化:各种粘稠浆、乳化液、各种软膏化装品
食品罐头行业:各种粘稠淀粉、浓酒糟、粮食制品渣、各种酱类、浆类、固体物浆液
建筑行业:水泥沙浆、石灰浆、涂料、糊状体的喷涂
采矿行业:矿井内的固体颗粒、地下水、污浆水
化学行业:各种悬浮液、油脂、各种胶体浆、各种粘合剂
印刷、造纸:高粘度油墨、墙纸的PVC高分子塑料糊和各种浓度的纸浆,短纤维浆料
工业锅炉、电厂:水煤浆输送
固定转速时的性能参数
|
型号 |
流量
(m3/h) |
压力
(Mpa) |
允许最
高转数
(r/min) |
电机
功率
(kw) |
必需汽
蚀余量
(m) |
进口法
兰通径
(mm)
|
出口法
兰通径
(mm) |
允许颗
粒直径
(mm) |
允许纤
维长度
(mm) |
|
G20-1 |
0.8 |
0.6 |
960 |
0.75 |
4 |
25 |
25 |
1.5 |
25 |
|
G20-2 |
1.2 |
1.5 |
|
G25-1 |
2 |
0.6 |
960 |
1.5 |
40 |
32 |
2 |
30 |
|
G25-2 |
1.2 |
2.2 |
|
G30-1 |
5 |
0.6 |
960 |
2.2 |
50 |
40 |
2.5 |
35 |
|
G30-2 |
1.2 |
3 |
|
G35-1 |
8 |
0.6 |
960 |
3 |
65 |
50 |
3 |
40 |
|
G35-2 |
1.2 |
4 |
|
G40-1 |
12 |
0.6 |
960 |
4 |
80 |
65 |
3.8 |
45 |
|
G40-2 |
1.2 |
5.5 |
|
G50-1 |
14 |
0.6 |
720 |
5.5 |
4.5 |
100 |
80 |
5 |
50 |
|
G50-2 |
1.2 |
7.5 |
|
G60-1 |
22 |
0.6 |
720 |
11 |
5 |
125 |
100 |
6 |
60 |
|
G60-2 |
1.2 |
15 |
|
G70-1 |
38 |
0.6 |
720 |
11 |
150 |
125 |
8 |
70 |
|
G70-2 |
1.2 |
18.5 |
|
G85-1 |
56 |
0.6 |
630 |
15 |
150 |
150 |
10 |
80 |
|
G85-2 |
1.2 |
30 |
|
G105-1 |
100 |
0.6 |
500 |
30 |
200 |
200 |
15 |
110 |
|
G105-2 |
1.2 |
55 |
|
G135-1 |
150 |
0.6 |
400 |
45 |
250 |
250 |
20 |
150 |
|
G135-2 |
1.2 |
90 |
单级,由齿轮变速、电磁调速电机加齿轮变速或无级变速电机加齿轮变速时的性能参数
|
型号 |
压力0.3Mpa |
压力0.6Mpa |
可调转数 |
转数
(r/min) |
流量
(m3/h) |
电动机
功率
(kw) |
转数
(r/min) |
流量
(m3/h) |
电动机
功率
(kw) |
转数
(r/min) |
流量
(m3/h) |
电动机
功率
(kw) |
|
G20-1 |
960 |
0.96 |
0.75-6级 |
960 |
0.8 |
0.75-6级 |
125~1250 |
0.1~1.5 |
1.1 |
|
720 |
0.8 |
0.55-8级 |
720 |
0.5 |
0.75-8级 |
|
510 |
0.4 |
0.55-4级/齿轮箱 |
510 |
0.3 |
0.75-4级/齿轮箱 |
|
G25-1 |
960 |
2.4 |
0.75-6级 |
960 |
2 |
1.5-6级 |
125~1250 |
0.1~3 |
1.5 |
|
720 |
1.5 |
0.55-8级 |
720 |
1.27 |
1.1-8级 |
|
510 |
1.08 |
0.55-4级/齿轮箱 |
510 |
0.9 |
1.1-4级/齿轮箱 |
|
G30-1 |
960 |
3.6 |
1.5-6级 |
960 |
3 |
2.2-6级 |
125~1250 |
0.2~4 |
2.2 |
|
720 |
2.28 |
1.1-8级 |
720 |
1.9 |
1.5-8级 |
|
510 |
1.63 |
1.1-4级/齿轮箱 |
510 |
1.35 |
1.5-4级/齿轮箱 |
|
G35-1 |
720 |
4.8 |
2.2-8级 |
720 |
4.04 |
3-8级 |
125~890 |
0.3~5 |
3 |
|
510 |
3.36 |
1.5-4级/齿轮箱 |
510 |
2.8 |
2.2-4级/齿轮箱 |
|
380 |
1.92 |
1.1-4级/齿轮箱 |
380 |
1.60 |
1.5-4级/齿轮箱 |
|
G40-1 |
510 |
6.8 |
2.2-4级/齿轮箱 |
510 |
5.6 |
3-4级/齿轮箱 |
125~890 |
0.3~10 |
4 |
|
380 |
5.1 |
1.5-4级/齿轮箱 |
380 |
4 |
2.2-4级/齿轮箱 |
|
252 |
2.65 |
1.1-6级/齿轮箱 |
252 |
2.2 |
1.5-6级/齿轮箱 |
|
G50-1 |
510 |
13.8 |
4-4级/齿轮箱 |
510 |
11.5 |
5.5-4级/齿轮箱 |
80~750 |
1~18 |
5.5 |
|
380 |
10.2 |
4-4级/齿轮箱 |
380 |
7.5 |
5.5-4级/齿轮箱 |
|
252 |
5.6 |
3-6级/齿轮箱 |
252 |
4.4 |
5.5-6级/齿轮箱 |
|
G60-1 |
510 |
20.8 |
7.5-4级/齿轮箱 |
510 |
16 |
11-4级/齿轮箱 |
63~630 |
1~20 |
11 |
|
380 |
15.6 |
7.5-4级/齿轮箱 |
380 |
12 |
11-4级/齿轮箱 |
|
252 |
7.8 |
5.5-6级/齿轮箱 |
252 |
6 |
7.5-6级/齿轮箱 |
|
G70-1 |
510 |
26 |
11-4级/齿轮箱 |
510 |
20 |
11-4级/齿轮箱 |
56~560 |
1~22 |
11 |
|
380 |
17 |
7.5-4级/齿轮箱 |
380 |
13 |
11-4级/齿轮箱 |
|
252 |
9.1 |
7.5-6级/齿轮箱 |
252 |
7 |
7.5-6级/齿轮箱 |
|
G85-1 |
380 |
32 |
11-4级/齿轮箱 |
380 |
25 |
15-4级/齿轮箱 |
37~370 |
2~24 |
15 |
|
252 |
21 |
7.5-6级/齿轮箱 |
252 |
16 |
11-6级/齿轮箱 |
|
189 |
11 |
5.5-8级/齿轮箱 |
189 |
8 |
11-8级/齿轮箱 |
|
G105-1 |
380 |
80 |
15-4级/齿轮箱 |
380 |
65 |
22-4级/齿轮箱 |
29~290 |
3~50 |
22 |
|
252 |
44 |
15-6级/齿轮箱 |
252 |
34 |
22-6级/齿轮箱 |
|
189 |
29 |
11-8级/齿轮箱 |
189 |
22 |
15-8级/齿轮箱 |
|
G135-1 |
380 |
132 |
37-4级/齿轮箱 |
380 |
120 |
45-4级/齿轮箱 |
18~180 |
3~56 |
45 |
|
252 |
95 |
30-6级/齿轮箱 |
252 |
80 |
37-6级/齿轮箱 |
|
189 |
65 |
18.5-6级/齿轮箱 |
189 |
53 |
30-8级/齿轮箱 |
双级,由齿轮变速、电磁调速电机加齿轮变速或无级变速电机加齿轮变速时的性能参数
|
型号 |
压力0.8Mpa |
压力1.2Mpa |
可调转数 |
转数
(r/min) |
流量
(m3/h) |
电动机
功率
(kw) |
转数
(r/min) |
流量
(m3/h) |
电动机
功率
(kw) |
转数
(r/min) |
流量
(m3/h) |
电动机
功率
(kw) |
|
G20-2 |
960 |
0.96 |
1.5-6级 |
960 |
0.8 |
1.5-6级 |
125~1250 |
0.1~1.5 |
1.5 |
|
720 |
0.8 |
1.1-8级 |
720 |
0.5 |
1.5-8级 |
|
510 |
0.4 |
1.1-4级/齿轮箱 |
510 |
0.3 |
1.1-4级/齿轮箱 |
|
G25-2 |
960 |
2.4 |
1.5-6级 |
960 |
2 |
2.2-6级 |
125~1250 |
0.1~3 |
2.2 |
|
720 |
1.5 |
1.1-8级 |
720 |
1.27 |
1.5-8级 |
|
510 |
1.08 |
1.1-4级/齿轮箱 |
510 |
0.9 |
1.5-4级/齿轮箱 |
|
G30-2 |
960 |
3.6 |
3-6级 |
960 |
3 |
3-6级 |
125~1250 |
0.2~4 |
3 |
|
720 |
2.28 |
1.5-8级 |
720 |
1.9 |
2.2-8级 |
|
510 |
1.63 |
1.5-4级/齿轮箱 |
510 |
1.35 |
2.2-4级/齿轮箱 |
|
G35-2 |
720 |
4.8 |
3-8级 |
720 |
4.04 |
4-8级 |
125~890 |
0.3~5 |
4 |
|
510 |
3.36 |
2.2-4级/齿轮箱 |
510 |
2.8 |
3-4级/齿轮箱 |
|
380 |
1.92 |
1.5-4级/齿轮箱 |
380 |
1.60 |
2.2-4级/齿轮箱 |
|
G40-2 |
510 |
6.8 |
4-4级/齿轮箱 |
510 |
5.6 |
5.5-4级/齿轮箱 |
125~890 |
0.3~10 |
5.5 |
|
380 |
5.1 |
3-4级/齿轮箱 |
380 |
4 |
4-4级/齿轮箱 |
|
252 |
2.65 |
2.2-6级/齿轮箱 |
252 |
2.2 |
3-6级/齿轮箱 |
|
G50-2 |
510 |
13.8 |
5.5-4级/齿轮箱 |
510 |
11.5 |
7.5-4级/齿轮箱 |
80~750 |
1~18 |
7.5 |
|
380 |
10.2 |
4-4级/齿轮箱 |
380 |
7.5 |
5.5-4级/齿轮箱 |
|
252 |
5.6 |
3-6级/齿轮箱 |
252 |
4.4 |
5.5-6级/齿轮箱 |
|
G60-2 |
510 |
20.8 |
15-4级/齿轮箱 |
510 |
16 |
15-4级/齿轮箱 |
63~630 |
1~20 |
15 |
|
380 |
15.6 |
11-4级/齿轮箱 |
380 |
12 |
15-4级/齿轮箱 |
|
252 |
7.8 |
7.5-6级/齿轮箱 |
252 |
6 |
11-6级/齿轮箱 |
|
G70-2 |
510 |
26 |
15-4级/齿轮箱 |
510 |
20 |
18.5-4级/齿轮箱 |
56~560 |
1~22 |
18.5 |
|
380 |
17 |
11-4级/齿轮箱 |
380 |
13 |
15-4级/齿轮箱 |
|
252 |
9.1 |
11-6级/齿轮箱 |
252 |
7 |
11-6级/齿轮箱 |
|
G85-2 |
380 |
32 |
18.5-4级/齿轮箱 |
380 |
25 |
22-4级/齿轮箱 |
37~370 |
2~24 |
22 |
|
252 |
21 |
15-6级/齿轮箱 |
252 |
16 |
18.5-6级/齿轮箱 |
|
189 |
11 |
15-8级/齿轮箱 |
189 |
8 |
15-8级/齿轮箱 |
|
G105-2 |
380 |
80 |
30-4级/齿轮箱 |
380 |
65 |
37-4级/齿轮箱 |
29~290 |
3~50 |
37 |
|
252 |
44 |
30-6级/齿轮箱 |
252 |
34 |
30-6级/齿轮箱 |
|
189 |
29 |
22-8级/齿轮箱 |
189 |
22 |
22-8级/齿轮箱 |
|
G135-2 |
380 |
132 |
55-4级/齿轮箱 |
380 |
120 |
75-4级/齿轮箱 |
18~180 |
3~56 |
75 |
|
252 |
95 |
55-6级/齿轮箱 |
252 |
80 |
75-6级/齿轮箱 |
|
189 |
65 |
37-8级/齿轮箱 |
189 |
53 |
45-8级/齿轮箱 |
单、双级水煤浆工作泵的性能参数
|
泵 型 |
流量
(m3/h) |
工作压力
(Mpa) |
转数
(r/min) |
齿轮减速配套调速电机
(kw) |
|
G30-2 |
~1 |
1.2 |
30~300 |
YCT160/4A-2.2 |
|
G35-2 |
~2 |
1.2 |
30~300 |
YCT160/4A-2.2 |
|
G40-2 |
~3 |
1.2 |
30~280 |
YCT160/4A-3 |
|
G50-1 |
~4.5 |
0.6 |
28~280 |
YCT180/4A-4 |
|
G50-2 |
~4.5 |
1.2 |
28~280 |
YCT200/4A-5.5 |
|
G60-1 |
~6.5 |
0.6 |
25~250 |
YCT200/4A-5.5 |
|
G60-2 |
~6.5 |
1.2 |
25~250 |
YCT200/4B-7.5 |
|
G70-1 |
~8 |
0.6 |
25~250 |
YCT200/4B-7.5 |
|
G85-1 |
~12.5 |
0.6 |
18~180 |
YCT225/4A-11 |
|
G105-1 |
~20 |
0.6 |
14~140 |
YCT225/4B-15 |
|
G135-1 |
~35 |
0.6 |
10~100 |
YCT250/4B-22 |
说明:
1、以上性能参数是常温清水试验时的试验数据;
2、对于不同的介质、不同的转速,性能参数都将变化,其流量值与浓度、粘度成反比,与转速成正比;
3、用户必须根据使用要求、输送介质的状况、选型原则选择泵的类型,或者和本公司技术部门协商来决定泵的类型。
4、对于水煤浆泵传动形式为齿轮调速配套电磁调速电机或机械无级变速电机,流量随转速变化无级可调。故障分析与排除方法:
|
故障
|
原因
|
排除方法
|
|
1、泵不能起动
|
a、新泵转、定子配合过紧
b、电压、电流太低
c、介质粘度过高
|
a、用工具人力帮助转动几圈
b、检查、调整
c、稀释料液
|
|
2、泵不出液
|
a、旋转方向不对
b、吸入管路有问题
c、介质粘度过高
d、转、定子损坏或传动部件损坏
e、泵内导物堵塞
|
a、调整方向
b、检查泄漏,打开进出口阀门
c、稀释料液
d、检查更换
c、排除更换
|
|
3、流量达不到
|
a、管路泄漏
b、阀门未全部打开或局部堵塞
c、转速太低
d、转、定子磨损
|
a、检查修理管路
b、打开全部阀门、排除堵塞物
c、调整转速
d、更换损坏另件
|
|
4、压力达不到
|
a、转子、定子磨损
|
a、更换转、定子
|
|
5、电机过热
|
a、电机故障
b、出口压力过高,电机超载
c、定子烧坏或粘在转子上
|
a、检查电机、电压、电流、电频
b、检查扬程,开足出口阀门,排除阻塞
c、更换损坏件
|
|
6、流量压力急剧下降
|
a、管道突然堵塞或泄漏
b、定子磨损恶劣
c、液体粘度突然改变
d、电压突然下降
|
参照以下几项,逐项排除
|
|
7、轴密封处大量泄漏液体
|
a、软填料磨损
b、机械密封损坏
|
a、压紧或更换填料
b、修复或更换
|
请提供以下详细数据:①G型螺杆泵产品名称与型号②G型螺杆泵流量③G型螺杆泵扬程(m)④G型螺杆泵口径⑤G型螺杆泵电机功率(KW)⑥G型螺杆泵转速(r/min)⑦G型螺杆泵电压〔V〕⑧G型螺杆泵吸程(m)⑨G型螺杆泵是否带附件以便我们的为您正确选型。
感谢访问泉达,我公司主要生产管道泵,自吸泵,排污泵等产品