AS型撕裂式潜水排污泵是永嘉泉达泵阀制造有限公司采用德国ABS公司先进的技术,特别适用于输送含有坚硬固体、纤维物的液体,以及特别脏、粘和滑的液体,。AS型撕裂式潜水排污泵主要部件由叶轮、泵体、底座、潜水电机组成。我公司生产的水泵轴和电机轴是同一根轴,由于撕裂式潜水排污泵位于整个排污泵最下端,它能最大限度抽吸地面积余污水。所有撕裂式潜水排污泵均装有经调整好的撕裂机构,因此能将污水中长纤维、袋、带、草、布条等撕裂后排出。因此,在污水中工作不会堵塞,运行极其可靠,产品执行JB/5118-2001《污水污物潜水电泵》标准。
AS撕裂潜水排污泵型号意义:

AS撕裂潜水排污泵技术参数:
流量:15-145m3/h;
扬程:4-25m;
转速:1450-2900r/min;
口径:φ76-φ152;
温度范围:-15-+40℃;
工作压力:≤1.0Mpa。
AS撕裂潜水排污泵产品特点:
1、采用优秀的水力模型,使泵的排污能力强,无堵塞。
2、撕裂机构能够把纤维状物质撕裂、切断,然后顺利排放,无需在泵上加滤网。
3、结构紧凑,体积小,重量轻,移动方便,安装简单,可减少工程造价。
4、能够在全扬程范围内运行,而电机不会过载。
5、双导轨自动安装,检修方便,人不必进出污水池。
6、配备全自动保护控制箱对产品的漏电、漏水以及过载等进行了有效?;?,提高了产品的安全性和可靠性。
7、配备浮球开关可以根据所需的水位变化,自动控制泵的启动与停止,无需专人看管。
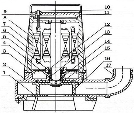
AS撕裂潜水排污泵结构图:
|

|
1
|
底座
|
10
|
电缆
|
|
2
|
泵体
|
11
|
上盖
|
|
3
|
轴承体
|
12
|
轴承
|
|
4
|
轴
|
13
|
机械密封
|
|
5
|
唇型密封
|
14
|
平键
|
|
6
|
电机壳
|
15
|
叶轮螺母
|
|
7
|
定子鉄芯
|
16
|
叶轮
|
|
8
|
转子铁芯
|
17
|
弯管
|
|
9
|
进线密封
|
|
|
AS撕裂潜水排污泵产品用途:
1、工厂、商业严重污染废水的排放;
2、城市污水处理厂排水系统;
3、住宅区的污水排放;
4、人防系统排水;
5、医院、宾馆等的污水排放;
6、市政工程、建筑工地。
AS撕裂潜水排污泵性能参数:
|
型号
|
流量
|
扬程
|
电机功率
|
转速
|
额定电压
|
额定电流
|
配用胶管内径
|
自耦装置
|
重量
|
|
(m3/h)
|
(M)
|
(kw)
|
(r/min)
|
(V)
|
(A)
|
mm
|
|
AS10-2W/CB
|
15
|
4
|
1.1
|
2850
|
220
|
5.65
|
76
|
80GAK
|
30
|
|
AS10-2CB
|
15
|
4.5
|
1.1
|
2850
|
380
|
2.9
|
76
|
80GAK
|
30
|
|
AS16-2CB
|
29
|
7.6
|
1.5
|
2850
|
380
|
3.5
|
76
|
80GAK
|
33
|
|
AS30-2CB
|
42
|
11
|
3
|
2850
|
380
|
6.4
|
76
|
80GAK
|
40
|
|
AS55-2CB
|
45
|
13
|
5.5
|
2900
|
380
|
11.1
|
127
|
100GAK
|
165
|
|
AS55-4CB
|
100
|
7.5
|
5.5
|
1450
|
380
|
11.6
|
152
|
150GAK
|
180
|
|
AS75-2CB
|
60
|
18
|
7.5
|
2900
|
380
|
15.0
|
127
|
100GAK
|
185
|
|
AS75-4CB
|
145
|
10
|
7.5
|
1450
|
380
|
15.4
|
152
|
150GAK
|
200
|
|
AV14-4
|
22
|
5.8
|
1.5
|
1450
|
380
|
3.5
|
76
|
80GAK
|
33
|
|
AV55-2
|
30
|
20
|
5.5
|
2900
|
380
|
11.1
|
76
|
100GAK
|
165
|
|
AV75-2
|
30
|
25
|
7.5
|
2900
|
380
|
15.0
|
76
|
100GAK
|
200
|
AS撕裂潜水排污泵运输注意事项:
1.决不允许用AS型撕裂式潜水排污泵的电缆起吊或悬挂水泵。在搬运或悬挂水泵时,可用带钩的链条钩在把手上或上盖的吊环上。
2.在移动使用时,出水软管可用标准软管接头,接在水泵的出水弯管上。固定使用时,可以用一节软管和接头,把撕裂式潜水排污泵接在固定的管道上。
3.撕裂式潜水排污泵不能放在污水的出口处。当水泵座放在泥地上或浮沙土上,水泵由于震动,产生下陷。在这种情况下,建议将水泵悬置起来或放在一个较大的底板上。
4.如果撕裂式潜水排污泵仍在运转或浸在水里,在0℃以下的气温时,可以继续使用。 、
5.出水管内径应符合规定的要求。对于输送距离较长的,可适当减内径,但易引起堵塞,降低输送效率,不经济。
6.在污水中使用的撕裂式潜水排污泵,在机壳周围堆积了泥浆、杂物等。这样降低了传热的速度,使泵的内部温度上升,缩短定子的使用寿命,造成无缘无故的跳闸,所以在污水液位抽吸至最低之后,用软管冲洗泵。
7.撕裂式潜水排污泵潜水电机使用油脂或润滑油进行润滑。由于密封磨损,油脂和润滑油会漏出,和水泵所抽的液体混在一起。这时,请赶快将泵送至本厂修理部门或委托维修点,更换密封,以免将水泵电机烧坏。
8.未切断电源时,不得移动撕裂式潜水排污泵。人不得在泵抽水时接触泵四周的水源,以防止泵万一漏电,又无地面漏电断流器装置时,造成触电事故。
9.潜水电泵安装以后,·不能长期浸在水申不用,建议每周至少运转4小时以检查其功能和适应性,或提起放在干燥处备用。
AS撕裂潜水排污泵使用注意事项:
在AS型撕裂式潜水排污泵启动之前,应由一名合格的电工对该系统进行检查。确保采取下述各项所要求的电器?;ご胧?。
1.AS型撕裂式潜水排污泵在运转前,应用O~500V兆欧表检查电机定子绕组对地绝缘电阻,最低不得小于0.5兆欧。
2.电源电压一定要在铭牌上标出的额定电压±5%的范围内,电源电压升高值不允许超过额定电压的10%。如果电源离水泵使用的地方距离较远时,电缆的截面积应当加粗,接头尽可能少些,否则会使电压下降太多,且电缆接头处,应作密封防水处理,以防从此处漏水进入。
3.四芯电缆中,带有符号“”者为接地线(一般为绿黄双色线),为了保证使用时安全,必须将接地线接牢,并比其他线长50mm~,
4.在有条件时,电器保护装置可包括:接地?;て?、地面漏电断流器等。但是,在任何情况下,都必须装有和水泵额定电流值相符的慢熔保险熔断丝。
5.电器控制装置应防潮,并安装在防潮的区域。电缆的安放应注意不要使其堵在泵的吸入口处。
6.检查转子转动方向。
使用三相电源水泵时,在泵初次启动或每次重新安装后都应检查转动方向,转动方向不正确,会降低水泵的效率,并会损坏水泵,造成叶轮脱落。
为测定转子转动方向,水泵在最终安装之前,应举高并作简单地启动。符合下列情况,转子(即电机)转动方向是正确的。
口、从撕裂式潜水排污泵的顶部向下看时,泵在启动瞬间转动方向和转子传动方向相反。
口、从底部向上看撕裂式潜水排污泵的吸入口,叶片按逆时针方向旋转。
如几台撕裂式潜水排污泵连到一个控制器上,各台泵必须单独进行检查。
如果旋转方向不正确,可以交换控制器上三相线中任意两根线的位置,就能改变转动方向。
AS撕裂潜水排污泵维修与保养:
AS型撕裂式潜水排污泵产品可靠,性能优良。每台在出厂前,有最大的耐用性。然而,为了保证水泵的使用寿命。
1.底座盖板的调整都认真地进行了最终检验。永久润滑的滚珠轴承使水泵具建议进行定期的检查和保养。在有磨损的介质中长期使用之后,叶轮和底座盖板之间的间隙可能增大。拆掉电源,松开固定螺丝,旋转盖板,便可以将间隙调整到原来的状态(0.3~0.5mm)。
2.清洗:
为防止撕裂式潜水排污泵在不用时,内部积有杂质,可用泵抽清洁的水来清洗水泵。水泵长期不用,应置于干燥处,并注意防冻。
3.注油与换油
AS型撕裂式潜水排污泵的油室在出厂包装前,已注入适量的润滑油。该油应每年进行更换。
换油应按下列方法进行:
把撕裂式潜水排污泵放置好,使得油室螺塞(位于出水口内侧)朝下,拧松螺塞,放出润滑油,然后用洗涤油清洗油室,再注入适量的油(约70~80%),换一个新的0型圈,将螺塞旋紧。
如果油中发现有水(奶状乳化液),按规定冲洗油室并重新装油,装紧带新的0形圈的螺塞。三个星期后必须重新检查一次,如果油又变成乳状液,机械密封件应进行检查。必要时应更换(于我厂维修部接洽)。如果自己更换密封孔,须做气密试验。(空气压力0.5公斤/厘米2)
润滑油:10[#]机械油
4.运转故障
万一运转发生故障,不能确定原因,并且按后面提出的排除故障方法仍不能解决时,请不要采取临时凑的
办法,也不要私自乱拆乱修,而应与我厂维修部门联系。
这一点尤其适用于由于控制部分中过流断路而引起的反复跳闸现象。

感谢访问泉达,我公司主要生产管道泵,自吸泵,排污泵等产品
相关产品:
ZW无堵塞自吸泵 不锈钢潜水排污泵 PW型卧式污水泵 AS潜水排污泵 QJ型多级潜水泵 LW立式无堵塞排污泵
JYWQ型自动搅匀式潜水排污泵 GW管道排污泵 YW立式不堵塞液下排污泵