增强聚丙烯离心泵FP型系列产品均采用机械密封,并引进国际先进工艺和技术配方,全使用CFR-PP(增强聚丙烯)作为泵的材质,在同系列的塑料泵产品中,充分显示了其结构先进、重量轻、体积小、寿命长等特点,广泛应用于化工,食品、制药、电镀、造纸、环保、水处理等部门,输送酸、碱、盐等腐蚀性液体。其中104型采用220V电压,可供家庭选用。
增强聚丙烯离心泵FP型型号意义


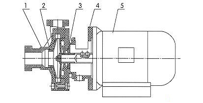
增强聚丙烯离心泵FP型结构


增强聚丙烯离心泵FP型性能参数
|
型号
|
口径
|
流量
m3/h
|
扬程
m
|
吸程
|
转速
r/min
|
电压
v
|
电机
功率 kw
|
|
进口
|
出口
|
|
FP20-15-60 (106)
|
20
|
15
|
1
|
5
|
3
|
2900
|
380
|
0.12
|
|
FP20-20-90 (105)
|
20
|
20
|
3
|
6
|
3
|
380
|
0.37
|
|
FP32-25-100 (104)
|
32
|
25
|
5
|
7
|
6
|
220
|
0.55
|
|
FP32-25-105 (103)
|
32
|
25
|
6.3
|
8
|
6
|
380
|
0.75
|
|
FP32-25-110
|
32
|
25
|
8
|
14
|
6
|
380
|
1.1
|
|
FP40-32-125 (102)
|
40
|
32
|
12.5
|
20
|
6
|
380
|
1.5
|
|
FP50-40-145
|
50
|
40
|
13
|
22
|
6
|
380
|
2.2
|
|
FP65-50-150 (101)
|
65
|
50
|
25
|
25
|
6
|
380
|
4
|
|
50FP-22
|
50
|
40
|
13
|
22
|
6
|
380
|
2.2
|
|
65FP-25
|
65
|
50
|
20
|
25
|
6
|
380
|
4
|
|
80FP-28
|
80
|
65
|
50
|
28
|
4
|
380
|
5.5
|
|
80FP-32
|
80
|
65
|
50
|
32
|
4
|
380
|
7.5
|
|
尺寸
型号
|
A
|
B
|
C
|
D
|
E
|
F
|
G
|
|
FP20-15-60
|
310
|
190
|
20
|
15
|
90
|
70
|
100
|
|
FP20-20-90
|
355
|
200
|
20
|
20
|
110
|
100
|
105
|
|
FP32-25-100
|
370
|
198
|
32
|
25
|
125
|
100
|
110
|
|
FP32-25-105
|
370
|
198
|
32
|
25
|
125
|
100
|
110
|
|
FP32-25-110
|
450
|
235
|
32
|
25
|
125
|
100
|
110
|
|
FP40-32-125
|
470
|
235
|
40
|
32
|
140
|
100
|
125
|
|
FP50-40-145
|
550
|
290
|
50
|
40
|
140
|
100
|
125
|
|
FP65-50-150
|
610
|
340
|
65
|
50
|
190
|
100
|
145
|
1、塑料泵应水平安装,泵体不得承受管路重量,对于特殊要求垂直安装的场合,电机务必朝上。
2、泵在使用前泵体内先加水。当抽吸液面高于轴心线时,启动前打开吸入管道阀门即可,若抽吸液面低于泵轴心线时,管道需配底阀。
3、电机启动前,应检查其旋转方向是否与泵转向标记一致。
4、被输送介质及温度应在泵材质允许的范围之内(见附表)。离心泵使用温度FP≤80℃、FS≤60℃电机温升不得超过80℃,环境温度<40℃。
5、禁止空载运行。
附表:塑料泵材质的耐腐蚀性能
|
介质
|
浓度
|
CFR-PP
|
介质
|
浓度
|
ABS
|
|
25℃
|
65℃
|
90℃
|
20℃
|
60℃
|
80℃
|
|
硫酸H2SO4
|
98%
|
√
|
√
|
○
|
硫酸H2SO4
|
<30%
|
√
|
×
|
|
|
70%
|
√
|
√
|
√
|
30-70%
|
○
|
×
|
|
|
1-50%
|
√
|
√
|
√
|
>75%
|
×
|
×
|
|
|
硝酸HNO3
|
浓
|
√
|
√
|
○
|
硝酸HNO3
|
10%
|
√
|
○
|
|
|
20%
|
√
|
√
|
√
|
20%
|
√
|
|
|
|
10%
|
√
|
√
|
√
|
25-35%
|
○
|
|
|
|
|
|
√
|
|
>50%
|
×
|
×
|
|
|
盐酸HCL
|
0-30%
|
√
|
○
|
×
|
盐酸HCL
|
<30%
|
√
|
×
|
|
|
氢氟酸
|
|
√
|
○
|
×
|
氢氟酸
|
<10%
|
√
|
×
|
|
|
40-48%
|
√
|
×
|
|
|
醋酸
|
1-50%
|
√
|
√
|
√
|
醋酸
|
<20%
|
√
|
○
|
|
|
磷酸
|
各种浓度
|
√
|
√
|
√
|
>30%
|
×
|
×
|
|
|
氢氧化钠
|
|
√
|
√
|
√
|
氢氧化钠
|
|
√
|
√
|
√
|
|
氯化钠
|
|
√
|
√
|
√
|
氯化钠
|
|
√
|
√
|
×
|
|
氯化铁
|
|
√
|
√
|
|
|
乙醇
|
|
√
|
√
|
√
|
乙醇
|
|
√
|
√
|
|
|
漂白液
|
|
√
|
√
|
√
|
漂白液
|
|
○
|
○
|
×
|
说明:√——良好; ○——可用、但有腐蚀; ×——不可用、腐蚀严重
泵故障形式与排除方法
|
故障形式
|
产生原因
|
排除方法
|
|
泵不出液
|
-
泵反转
-
进液管道漏气
-
泵腔蓄液太少
-
吸程太高
-
底阀漏水
-
叶轮受阻不转
|
-
改变电机接线
-
杜绝漏气
-
增加蓄液量
-
降低泵安装位置
-
清理底阀
-
清洗泵壳、叶轮
|
|
流量不足
|
-
吸入管径太小
-
叶轮流道阻塞
-
扬程过高
-
吸入管路有空气漏进
-
叶轮损坏
|
-
调换进液器
-
清洗叶轮
-
开大出液阀
-
杜绝漏气
-
更换叶轮
|
|
扬程过低
|
-
流量过太
-
转速太低
|
-
关小出水阀
-
恢复额定转速
|
|
噪音过低
|
-
泵内有杂物
-
转动件与固定件碰擦
-
轴严重磨损
|
-
检查清理
-
调整间隙
-
更换泵轴
|
|
漏液
|
-
泵壳固定螺钉松动
-
机械密封严重磨损
|
-
拧紧螺钉
-
更换机械密封
-
|
订货请尽量提供:1.型号2.口径3.扬程(m)4.流量5.电机功率(KW)6.转速(R/min)7.电压(V)8.材质是否带附件