几年来说,中国的泵阀行业自改革开放的20多年来有很大进步和发展,这一点不仅仅是在产量产值,产能上体现出来,在品种规格还有综合技术水平上都有直接的表现。行业各企业在现今应该抓住机遇,调整产品节能,大力推进技术创新,为我们国家的工业建设建筑物建设等经济建设科学技术发展,国防技术提升做出卓越的贡献。
1.技术改造滞后,老厂房、老设备、老工艺仍占主流,虽然近几年几个企业搬迁而有了改观,但整体的制造水平、工艺水平、检测水平仍较落后,与国外同行企业无法相比。旧体制遗留下来的技术改造问题,恐难在短期内予以消除。设备的陈旧、导致工艺的落后和产品水平的低下,这在行业内的每个企业几乎都存在。我国机械真空泵的整体技术并不落后,而由于工艺手段的落后导致性能低下。尽管一些厂家购置了先进的数控加工中心或专用的数控机床,但总量上仍显不足,工艺的综合能力仍赶不上国外同行。德国莱宝公司在天津的二期投入,无论从厂房设施、工作场地、制造能力、检测手段无不反映了当今世界一流水平。而我们行业内的那一家企业又能与之相比呢?设备能力、工艺手段是企业最基本的竞争力所在,如果我们的企业尚停留在较原始的制造手段,企业的竞争力何在?企业的今后发展何在!
2.研发能力差,可以说没有资金的投入或只有少量资金的投入。既使是所谓的新产品研发,也只是走边接单,边设计,边生产的模式,在某种程度上造成了设备性能的不可靠和工艺的不成熟,给客户的使用带来了隐患。国外的同行在研发上投入大量的资金,进行关键件、基础件的研制,进行工艺的摸索和固化,形成了某一产品或某一领域的优势。待我们进行研发时,也只能跟在别人的后面跑,更谈不上原创型,当快要成熟或市场上形成一定竞争力时,别人又有长期研发成功的产品推向市场,形成了竞争的良性循环。
3.管理机制和模式不适应现代企业的需要。国有体制的由工厂换牌到所谓公司制建制式;家族式或进展到朋友之间的股份合作式;无不反映了做坊式陈旧的管理理念,反映了以人制代替法规制的陋习?;菩缘谋锥瞬豢赡艽俳笠档姆⒄梗执笠等钪贫鹊募だJ讲豢赡茉谄笠抵杏枰怨岢?。即使现在已经进行了股份制改造的企业,或是已经获得中国机械工业管理先进的企业,在管理上仍大大落后于西方发达国家。在日本真空行业的生产企业中,生产组织上的看板管理,产品质量上的PDCA管理,工作现场的洁净管理等等,无不体现了现代企业的物质文明和精神文明,体现了以人为本的科学理念。
4.人才问题。这是我们真空设备行业乃至整个机械工业普遍存在的共性问题。高素质开拓型的技术人员,一技之长的能工巧匠,管理独具的白领阶层,都显得匾乏和捉襟见肘。技术人员、技术工人、管理人员是支撑企业生存的三根基石,缺一不可。而在我们的企业里三种人才普遍短缺,那么就软化了企业生存的基础。就企业而言,市场的拓展靠产品,产品的开发靠人才,人才的开发靠环境(政策、待遇),在这个链条中,人是第一位的,有了人就有了产品,有了产品就有了市场。在发达国家的企业里,兰白领员工的学历水平正在逐年缩小,兰领员工的素质普遍提高。在我国,大学本、专科毕业的学生中有多少人去开机床?虽然有的企业招人中明显规定某某学历为当工人岗而设,但落实到岗或在岗位上留下来长期奉献的能有几人?为了企业的发展与生存,真空设备行业在困难的状况下仍以不薄的待遇在不断地吸纳大学毕业生,用以充实技术人员队伍和企业的延续。然而在扩招以后的大学毕业生中,综合素质普遍低下,多于待遇,少于奉献,多于口头,少于实践的现象普遍存在。一台电脑、一门外语就是他学业的全部。一个机械工科院校毕业的学生,连起码的机械加工基础知识都不懂,这就反映了我们教书育人中存在的问题。在我们企业中,近几年也来了许多大学生,但也走了一些人,留下来的人有的已成了骨干,走的人自认为在行业中练了几年把式,但社会的认可度如何?大家自有公论。真正在大学学真空专业毕业后从事产品研发的,充其量不足25%,这就给真空设备行业基础人才的积累带来了隐患。大家都去做流通,大家都去做代理,研发这种艰难的工作谁去干?技术的提升靠人才,靠人才的综合素质,靠高素质的技术团队去实现。目前仍奋斗在真空产业研发岗位上的技术人才,是真空设备行业发展的希望,是中国民族工业发展的希望。我们这个队伍虽目前仍显得单薄,但经过大浪淘沙,留下来的都是金子。随着时间的推移,人才的问题将会有好的转机。
永嘉县泉达泵阀制造有限公司
ISW型卧式管道离心泵产品概述:
ISW型卧式管道离心泵是永嘉泉达泵阀制造有限公司根据IS型离心泵与立式泵的独特结构组合设计,并严格按照国际标准ISO2858和最新的国家管道离心泵标准JB/T53058-93进行设计制造的高效节能产品。该泵采用国内先进水力模型优化设计而成。同时根据使用温度、介质等不同在ISW型基础上派生出热水泵、高温泵、化工泵、油泵等,是目前国家标准定型推广产品。
ISW型卧式管道离心泵型号意义:

ISW型卧式管道离心泵工作条件:
1、 吸入压力≤1.0Mpa,或泵系统最高工作压力≤1.6Mpa,即泵吸入口压力+泵扬程≤ 1.6Mpa、泵静压试验压力为2.5Mpa,订货时请注明系统工作压力。泵系统工作压力大于 1.6Mpa时应在订货时另行提出。以便在制造时泵的过流部件和联接部分采用铸钢材料。
2、 环境温度<40℃,相对湿度<95%。
3、 所输送介质中固体颗粒体积含量不超过单位体积的0.1%,粒度<0.2mm.
注:如使用介质为带有细小颗粒,请在订货时说明,以便采用耐磨式机械密封。
ISW型卧式管道离心泵产品用途:
1、 ISW型卧式管道离心泵,供输送清水及物理化学性质类似于清水的其他液体之用,适用于工业和城市给排水,高层建筑增压送水,园林灌溉,消防增压及设备配套,使用温度T:≤80℃。
2、ISWR卧式热水管道泵广泛适用于能源、冶金、化工、纺织、造纸、以及宾馆饭店等锅炉高温热水增压循环输送及城市采暖系统循环用泵,ISWR使用温度T:≤120℃、WRG使用温度T:≤240℃。
3、 ISWH型卧式化工泵,供输送不含固体颗粒,具有腐蚀性,粘度类似于水的液体,适用于石油、化工、冶金、电力、造纸、食品、制药和合成纤维等部门,使用温度T:-20℃-120℃。
4、 ISWB型卧式油泵,供输送汽油、柴油、煤油等石油产品,使用温度T:-20℃-120℃。
ISW型卧式管道离心泵产品特点:
1、运行平稳:泵轴的绝对同心度叶轮优异的动静平衡,保证平稳运行,绝无振动。
2、滴水不漏:不同材质的硬质合金密封,保证了不同介质输送均无泄漏。
3、噪音低:两个低噪音轴承下的水泵,运转平稳,除电机微弱声响,基本无噪声。
4、故障率低:结构简单合理,关键部分采用国际一流品质配套,整机无故障工作时间大大提高。
5、维修方便:更换密封、轴承、简易方便。
6、占地更?。撼隹诳上蜃?、向右、向上三个方向,便于管道布置安装,节省空间。
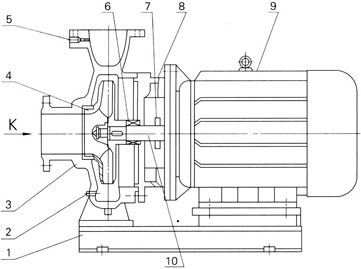
ISW型卧式管道离心泵结构图:
|

|
1
|
底座
|
|
2
|
放水孔
|
|
3
|
泵体
|
|
4
|
叶轮
|
|
5
|
取压孔
|
|
6
|
机械密封
|
|
7
|
挡水圈
|
|
8
|
端盖
|
|
9
|
电机
|
|
10
|
轴
|
结构见图:该机组由泵、电机和底座三部分组成。泵结构包括泵体、叶轮、泵盖、机械密封等零部件组成。泵为单级单吸卧式离心式,泵体和泵盖两部份是从叶轮背面处剖分的,即为后开门结构形式。大多数泵的叶轮前、后均设有密封环,并在叶轮后盖板上设有平衡孔,以平衡作用在转子上的轴向力。泵进口为轴向水平吸入,出口为垂直向上布置。泵和电机同轴,电机轴伸端采用双角接触球轴承结构可部分平衡泵的残余轴向力。泵与电机直联,安装时无需校正,具有共同底座,并用JG型隔振器进行隔振。 |