防爆储罐清污装置包括有气动隔膜泵、自动清洗过滤器和清污容器以及喷油管和吸油管;气动隔膜泵、自动清洗过滤器和清污容器安装在手推车的平板上,喷油管和吸油管设置在防爆储罐内;气动隔膜泵进油口通过软胶管连接吸油管出油口,自动清洗过滤器出油口通过软胶管连接喷油管的进油口,气动隔膜泵与吸油管以及自动清洗过滤器与喷射管的进出油口连接的快速接头均为阴、阳接头。气动隔膜泵出油口与自动清洗过滤器进油口由软胶管相连接,自动清洗过滤器下端油污出口通过软胶管通入到清污容器内。
所述的喷油管由喷射竖管和喷射横管构成,喷射竖管和喷射横管构成T型结构,均由Φ50毫米的不锈钢管制成。在喷射竖管的外部设置有同心轴吸油管,吸油管采用Φ100毫米的不锈钢管。喷射竖管的上端口穿过吸油管侧壁以及吸油管的上端口分别通过法兰连接有快速接头,喷射竖管和吸油管穿过防爆储罐的清污隧道,吸油管未端设置有扩张形吸油口,吸油口在清污隧道内,喷射竖管与设置在清污隧道内喷射横管正交焊接为一体。
所述的喷油横管每间隔300-500毫米位置设置一喷油口,第一位置的喷油口设置在喷油横管的底部,相继第二喷油口位置设置在喷油横管的侧壁上有两个对称,如此交错设置,喷油口直径为Φ20毫米。喷射横管的外部焊有三个卡箍,卡箍下支脚座落在防爆储罐的罐底。
所述的喷射竖管和吸油管为平行设置,中间有卡箍连接。
所述的手推车平板是由槽钢焊接成长方形框体,中间有加强筋,框体上铺设有波纹钢板,侧壁焊有∏型手推柄,下部设有前、后滑轮,两前轮为万向轮,转弯自由。
气动隔膜泵气源是由空气压缩机提供的,空气压缩机电源是由在手推车上设置的电器控制柜提供的。自动清洗过滤器的电机动力由电器控制柜提供的。
所述的清污容器为手提小桶。
本清污装置是专门为防爆储罐配置的特殊清污设备,它解决了目前防爆储罐内的油污难易清洗的难题。本装置的清污措施是借用防爆储罐内储存一定量的介质(原防爆储罐内储存的介质,如汽油或柴油等),在防爆储罐内该清污装置营造出使防爆储罐内的介质形成流动,它将使与防爆储罐内的油污进行混合形成混合流,此混合流携同油污被气动隔膜泵抽吸到罐外,再通过自动清洗过滤器进行过滤,实现油、污分离,分离的清洁油又被送到防爆储罐的清污隧道内形成不间断的混合流。本装置在清污隧道内设置喷射管和吸引管目的是,将引入清洁介质来驱使多年沉积的油污流动从而形成混合流;这样清洁油介质不断的输送给清污隧道使油污形成混合流、又不断地被抽吸到罐外进行油、污分离,直到防爆储罐内的污泥被清除干净为止。
为实现上述清污处理不可缺少的条件是:在防爆储罐内必须保存有一定量的原有介质,方能形成循环介质的流动。经试验表明,在防爆储罐内保留1/4-1/5容积的储存介质。
本装置的另一个特点是:在防爆储罐内促使油、污大循环的吸油管和喷射管应事先(即对储罐进行阻隔防爆技术改造时)安装在防爆储罐内。在对防爆储罐进行清洗时,可大大简化操作过程和清洗时间。这里要说明的是:在储油罐进行阻隔防爆技术改造时,吸油管和喷射管连接的快速接头最好靠近防爆储罐人孔盖的下部位置,方便与罐外的清污设备连接。
装置的优点在于:
1、本装置的清污机理是采用物理清污方法进行的。清污使用的介质为原防爆储罐储存的介质,由介质携带油污被输送到自动清洗过滤器进行油、污分离。不是采用化学的手段,不用乳化剂(溶解剂)对油污进行溶解、稀释,不进行二次溶解剂与油污的分离(还有大量水分离等)。由此本装置大大简化清污的过程和时间,节约成本,环保、不污染空气。
2、本装置采用的气动隔膜泵是由压缩空气作为动力的,不会产生电火花,作业安全。由于隔膜泵输送液体的粘度较为广泛,可通过直径为10毫米以下的颗粒,通过性能好,且隔膜泵输送的介质与传动机械件分开,介质不会泄露,对输送易燃、易爆介质安全、可靠。
3、本装置采用自动清洗过滤器的过滤网为两层:粗滤网+细滤网,油泥颗粒为0.02毫米的污泥就能被截留下来,过滤效果好。尤其当其出现进口表压大于出口表压时,自动清洗过滤器的反冲电机启动,将对附着在过滤网上的油泥强行排出,清洗程度高。
4、本装置的结构布局合理,投资小,见效快。
5、本装置专门为这一特殊结构的防爆储罐进行研制的清污设备。它解决防爆储罐内沉积油污的清污技术难关,它为阻隔防爆技术推进到一个新的技术阶段,它是目前国内进行阻隔防爆技术改造的又一次革命。
本发明还涉及到借用防爆储罐内储存的介质进行循环式清污的方法是:
1、开启人孔盖,用防爆工具拆卸人孔盖及相关管路、法兰、螺丝等,将拆卸的管路,用盲板盲住。
2、依次取出竖井内的吸油管和喷射管防护筒以及竖井内遮挡吸油管和喷射管快速接头附近的防爆材料,取防爆材料时应使用专用工具。
3、将连接有气动隔膜泵进油口的软胶管的快速接头和连接有自动清洗过滤器出油口软胶管的快速接头分别与吸油管和喷射管口的快速接头对接。
4、开始启动循环清洗作业:
4.1接通外接电源,电器控制柜给电;
4.2启动空气压缩机,待压缩机储气罐压力达到0.6Mpa时,打开空气压缩机的出气阀门;
4.3缓慢开启隔膜泵进气阀,不可突然将阀门全部打开,防止损坏泵膜;
4.4气动隔膜泵在抽吸过程中,随时进行观测并监视从防爆储罐内抽吸出来油污状况。
4.5当自动清洗过滤器的进口表压大于出口表压时,应进行排污作业,具体操作步骤如下:
(1)关闭气动隔膜泵的进气阀,气动隔膜泵停止工作;
(2)关闭自动清洗过滤器的进、出口阀门;
(3)开启过滤电机;
(4)3-5秒后,打开过滤器排污阀,将污油排放在清污容器内;
(5)排污结束后,关闭排污阀;
(6)打开自动清洗过滤器的进、出口阀门;缓慢打开气动隔膜泵的进气阀,重新进行循环清洗作业。
5、随时检查清洗效果,自动清洗过滤器的进口处提取样品,通过观察样品的纯净度及悬浮物等,检查防爆储罐的清污状况。
6、确认清洗效果达到标准时,停止清洗作业。
7、拆卸与气动隔膜泵和自动清洗过滤器与喷射管和吸油管连接的快速接头,在撤出快速接头之前,应要将管内残油排出干净。
8、安装喷射管和吸油管外设的护筒及防爆材料。
9、安装防爆储罐的人孔盖,撤除盲板,连接好各管路,现场恢复到作业前状态。
本清污方法的优点在于:
1、此清污手段是使用原防爆储罐储存的介质,用此介质携带的油污被输送到自动清洗过滤器进行油污分离,大大节约成本,简化过程,节省时间,环保、不污染空气。
2、本清污使用的设备如气动隔膜泵的动力源为压缩空气,不会产生电火花,隔膜泵输送的介质与传动机械件分开,介质不会泄露,对输送易燃、易爆油、气十分安全,可靠。本清污设备使用的自动清洗过滤器过滤效果好。
3、本清污方法适应于大型油库的储罐清污处理,特别是经过阻隔防爆技术改造的油库,只要将本装置的喷射管和吸油管预先安装在油罐内,即可进行清污作业,大大节约成本,减轻劳动强度。
附图说明

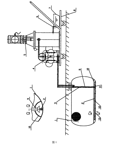
图1为整体结构示意图及Q-Q剖视图;

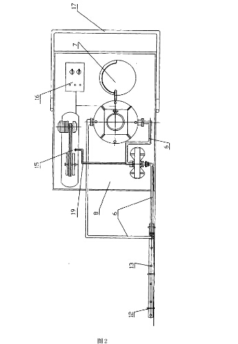
图2为图1的俯视结构示意图;

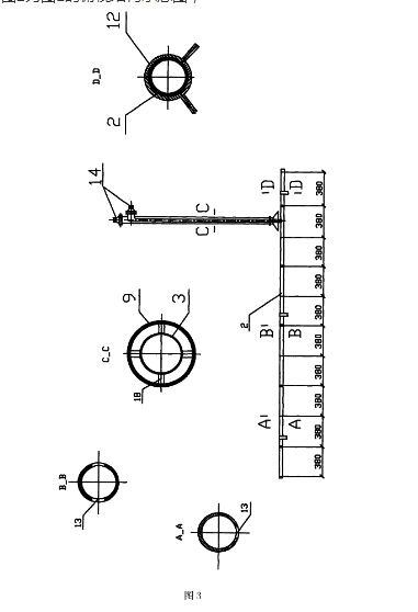
图3为喷射管和吸油管的组合结构示意图及其A-A,B-B,C-C,D-D剖面示意图。
其1防爆储罐,2喷射横管,3喷射竖管,4气动隔膜泵,5自动清洗过滤器,6软胶管,7清污容器,8手推车,9吸油管,10清污隧道,11吸油口,12卡箍,13喷油口,14快速接头,15空气压缩机,16电器控制柜,17手推柄,18筋,19高压气管。
具体实施方式
本防爆储罐的清污装置包括有气动隔膜泵4、自动清洗过滤器5和清污容器7以及喷油管和吸油管9。气动隔膜泵4、自动清洗过滤器5和清污容器7安装在手推车8平板上,喷油管和吸油管9设置在埋地式防爆储罐1内。气动隔膜泵4的进油口通过软胶管6连接吸油管9的出油口,自动清洗过滤器5出油口通过软胶管6连接喷油管的进油口,气动隔膜泵4的进油口和自动清洗过滤器5出油口与喷射管和吸油管连接的快速接头14均为阴、阳快速接头。气动隔膜泵4出油口与自动清洗过滤器5进油口通过软胶管6相连接,自动清洗过滤器5下端油污出口经软胶管6通入到清污容器7内。
本装置采用的气动隔膜泵4型号为WILDEN PV 800(口径为2″)。该气动隔膜泵是由一种由膜片往复变形造成容积变化的容积泵,它是由空气压缩机的压缩空气作为动力的,不会产生电火花;同时,隔膜泵输送的介质与传动机械件分开,传送的介质不会泄露,对输送易燃、易爆油、气介质是十分安全的。气动隔膜泵4最大输送流体的流量为155GPM(587LPM),最大的工作压力为125PSI(8.6Bar)。该隔膜泵输送液体的粘度较为广泛,可通过最大直径为10毫米以下的颗粒,通过性能好,因此在?;返挠?、气输送泵大都采用气动隔膜泵。
本装置采用自动清洗过滤器5型号为XL-SQ-50。自动清洗过滤器5由过滤器本体、过滤网、冲洗阀及冲洗控制器等组成。防爆储罐内的油污混合流体经气动隔膜泵输送到自动清洗过滤器进行过滤,首先通过粗滤网,然后再进入细滤网,油泥由此将被截留下来。本自动清洗过滤器的粗滤网选为80目,细滤网采用120目,过滤效果好。尤其是大量油泥集聚在细滤网上时,使滤网的内表面与外表面形成压差,即设备在出现进口表压大于出口表压时,就要进行排污作业;启动自动清洗过滤器的反冲过滤电机(功率为0.55kw),产生一股吸力强劲的反冲力,过滤器上的吸嘴将附着滤网上的油污迹吸下来沉积在底部,并由阀门将污泥排出。
所述的喷油管由喷射竖管3和喷射横管2构成,喷射竖管3和喷射横管2构成T型管,管径均由Φ50毫米的不锈钢管制成。在喷射竖管3的外部设置有同心的吸油管9,吸油管9采用Φ100毫米的不锈钢管。喷射竖管3与吸油管9之间连接有筋18。喷射竖管3上端口穿过吸油管9侧壁以及吸油管9的上端口通过法兰分别连接有快速接头14,喷射竖管3和吸油管9设有卡箍与竖井的框架相固定。喷射竖管3和吸油管9下端同时穿过清污隧道10的管壁,喷射竖管3下端与喷射横管2正交连接,且喷射竖管3和吸油管9中间有法兰连接,便于安装。
喷射横管2设置在清污隧道10内,在吸油管9的未端连接有扩张形吸油口11,吸油口11设在清污隧道10内。
为了便于加工,所述的喷射竖管3和吸油管9可设置为两条平行管,两支管之间设有卡箍相连接并与防爆储罐内设置竖井的框架相固定,其下端同时穿过防爆储罐内的清污隧道10,清污隧道10起到固定效果。
本装置的吸油管9和喷射管应事先安装在埋地式防爆储罐1内,这样在进行清洗时,可大大简化操作过程和清洗时间。在对储油罐进行阻隔防爆技术改造同时,吸油管9和喷射管同时安装在防爆储罐1内,吸油管9和喷射竖管3的外部有中孔板围成的护筒,护筒外有防爆材料(护筒附图未显示)。吸油管9和喷射管3连接的快速接头14应靠近防爆储罐1的人孔盖下部位置,将大大方便快速接头的连接。
所述的喷油横管2每间隔300-500毫米的位置设置有一喷油口13(本附图给出每380毫米设置一喷油口或一对喷油口)。第一位置的喷油口13设置在喷油横管2的底部,相继第二位置的喷油口13设置喷油横管2的侧壁上,为两个对称的喷油口13,如此交错布置,喷油口直径选为Φ20毫米。在喷射横管2三个不同位置焊有卡箍12,卡箍12下支脚座落在防爆储罐1的罐底上;交错设计喷油口13的位置,其目的在于增强清污隧道10内清洁油搅动油泥的冲力并形成油、污混合流,同时又吸油管9受到气动隔膜泵4的吸力,迫使清污隧道10内油、污混合流的流动。
手推车8平板是由槽钢焊接长方形框体,长度为1.5米×1.0米,中间有加强筋,框体上铺设有波纹钢板,侧壁焊有∏型手推柄17,下部设有前、后滑轮,两前轮为万向轮,转弯自由。
气动隔膜泵4气源由空气压缩机15提供的,空气压缩机15的电源是由手推车8上设置的电器控制柜16提供的;同样,自动清洗过滤器5电机动力也是由电器控制柜16提供的。
所述的清污容器7为手提小桶。当油泥堆满时,可方便地倒入在油泥收集器,一同送往收集站进行处理。
喷油横管2长度是根据不同容积防爆储罐1的罐体长度(除去封头)来决定的;例如罐容为20M3的防爆储罐(罐体直径为2.5米),喷油横管的长度为3.8米;罐容为50M3的防爆储罐(罐体直径为2.5米),喷油横管的长度为9.8米。喷油横管2在防爆储罐内进行安装时,由于受到罐体人孔尺寸的限制,可将喷油横管2分段加工,现场组装。
对于已经进行阻隔防爆技术改造的防爆储罐,罐内没有喷射管和吸油管的情况下,要进行现场安装。
安装过程是这样的:
预先得知防爆储罐内的存储油(介质)使用底线(即加油机抽不到油为止,如25M3的防爆储汽油罐,剩余油量约为0.8M3)。此时打开防爆储罐1人孔盖,将竖井内的防爆材料和竖井下部的清污隧道10移出罐外;将吸油管9(最好使用单个吸油管)插入到清污隧道10内,启动气动隔膜泵4将清污隧道10内剩余油污输送给自动清洗过滤器5进行过滤,过滤后的清洁油不送回防爆储罐,另外储存到容器内,直到将清污隧道内的油污抽完为止。然后将设计多段的喷射横管2放入到清污隧道10内。由于竖井的尺寸有限,喷射横管2中间设计为能通过竖井放入到清污隧道10内为好,其余两段或多段的喷射横管与中间段喷射横管用对接管头对接一体,并用卡箍固定好清污隧道10内,再将喷射竖管2和吸油管9与其连接(如使用同心的喷射竖管3和吸油管9是应将单个吸油管取出),并将与竖井固定好,同心的喷射竖管3和吸油管9快速接头14应由盲板?;?。这里说明的是同心设置的喷射管和吸油管只是安装到位,为下一次清污作业使用的。
本发明还提供借用防爆储罐内储存的介质进行循环式清污的方法,在进行对防爆储罐进行清污作业时,首先要检查防爆储罐内的储存油量必须保留1/4-1/5容积;再则气动隔膜泵4和自动清洗过滤器5的快速接头与吸油管9和喷射管快速接头联通后,必须检查各管路的密封性能,无油、气泄露,方可作业,目的确保施工作业、环境的安全。
本装置借用防爆储罐内储存的介质进行循环式清污的方法是:
1、开启防爆储罐1的人孔盖,用防爆工具拆卸人孔盖及相关管路、法兰、螺丝等,将拆卸的管路,用盲板盲住。
2、依次取出吸油管9和喷射竖管3外的防护筒和防爆材料,取出吸油管和喷射管口快速接头14的盲板。
3、将气动隔膜泵4进油口软胶管的快速接头及自动清洗过滤器5出油口的快速接头分别与吸油管9和喷射竖管3的快速接头相对接,同时检查各油管路连接处的密封性能(这里吸油管和喷射管口的快速接头已经安装在防爆储罐内)。
4、开始启动循环清洗作业
4.1接通外接电源,电器控制柜16给电;
4.2启动空气压缩机15,待压缩机储气罐压力达到0.6Mpa时,打开空气压缩机的出气阀门经高压气管19给气动隔膜泵4送气。
4.3缓慢开启气动隔膜泵4进气阀,不可突然将阀门全部打开,防止损坏泵膜。
4.4气动隔膜泵4工作,并进行抽吸防爆储罐内的油、污,这时气动隔膜泵4抽出来是油介质(没有油泥),该介质输送到自动清洗过滤器5时,还没有油泥出现,待将此介质经喷射管由喷射管口13喷出时,将搅动油、污的流动形成混合流,混合流携同油污被气动隔膜泵4抽吸并通过自动清洗过滤器5进行过滤,实现油、污分离,分离出来的清洁油又被送到防爆储罐的清污隧道5内。油污排除状况应随时监视油污混合流浑浊程度。
4.5当自动清洗过滤器5的进口表压大于出口表压时,进行排污作业。具体操作步骤如下:
(1)关闭气动隔膜泵4的进气阀,此气动隔膜泵4停止工作;
(2)关闭自动清洗过滤器5的进、出口阀门;
(3)开启过滤电机;启动自动清洗过滤器的反冲电机,由过滤器的吸嘴将附着滤网上的油污迹吸下来,并积聚在下部存储器内;
(4)待3-5秒后,打开过滤器排污阀,将污油排放在清污容器7内;
(5)排污结束后,关闭排污阀。
4.6重新打开自动清洗过滤器5的进、出口阀门。
4.7缓慢打开气动隔膜泵4的进气阀,重新进行油污循环清洗作业。
5、随时检查清洗效果,打开自动清洗过滤器5设置的阀门,用取样管提取样品,通过观察样品的纯净度及悬浮物等,检查防爆储罐内抽吸出来的油污清晰状况,可与原油品介质对比,或进行快速检测从而确定防爆储罐内的油污状态。
6、确认清洗效果达到标准后,停止清洗作业。
7、拆卸与气动隔膜泵4和自动清洗过滤器5与喷射管和吸油管连接的快速接头14,在撤出快速接头之前,应要将管内残油排出干净。
8、安装喷射管和吸油管外设的护筒及防爆材料。
9、安装防爆储罐的人孔盖,撤除盲板,连接好各管路,现场恢复到作业前状态。
产品推荐:
管道排污泵 http://m.94651.cn/productshow_22.html
|